


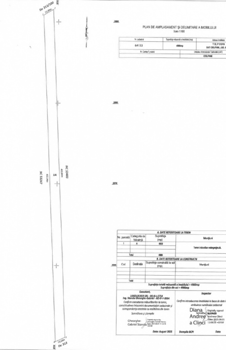
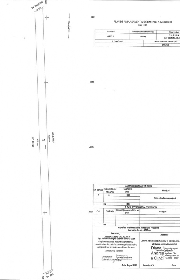
Vă propunem spre vânzare un teren intravilan generos, cu suprafața de 4.900 mp, situat pe Str. Lacului nr.16, în localitatea Ciolpani, județul Ilfov, într-o zonă în plină dezvoltare rezidențială.
Beneficiază de o poziționare avantajoasă într-un areal în continuă expansiune, unde în ultimii ani au apărut numeroase locuințe noi și proiecte rezidențiale.
Terenul are o formă regulată, dubla deschidere fiind potrivit pentru construcția unui proiect rezidențial.